Une grande variété de sons
Module de saturation très versatile, grâce à ses nombreux réglages : outre le gain global, les autres réglages se font de manière asymétrique, indépendamment sur chaque alternance du signal : taux de saturation et seuils d’écrêtage.
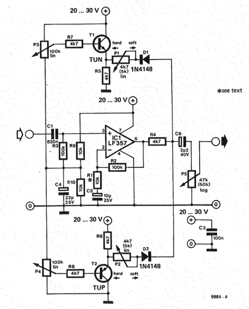
J’ai retrouvé un vieux schéma publié dans la revue ELEKTOR en 1979.
L’alimentation proposée est de 20 à 30v, ce qui est énorme pour une pédale d’effet. J’ai tenté avec une pile de 9v, aucune différence. La revue proposait aussi une version en alimentation symétrique ± 20 à 30v.
Principe de fonctionnement
L’originalité du système repose sur la possibilité de régler de manière asymétrique le seuil de déclenchement de l’écrêtage, ainsi que le taux de saturation , et ce pour chacune des 2 alternance du signal. L’intérêt est le suivant : lorsqu’un signal est saturé de manière symétrique, il ne contient que des harmoniques paires, ce qui donne ce son « flou » (fuzzy ») caractéristique. Mais le son peut être fortement enrichi en faisant en sorte que le signal de sortie soit écrêté de manière asymétrique — c’est-à-dire de valeur différente entre l’alternance positive et l’alternance négative — ce qui produit une distorsion plus ou moins marquée, et offre une game de sons plus étendue, depuis le léger « crunch » jusqu’à la distorsion abrupte, en passsant par toutes les games de « fuzz ».
Les réglages :
Pour chaque alternance, on peut régler :
- le seuil de déclenchement de l’écrêtage (P3 et P4)
- le taux de saturation (P1 et P2).
De plus, le gain de l’amplificateur opérationnel est lui aussi ajustable (P6) dans une grande plage de valeurs, permettant de passer d’une très légère saturation à un son très saturé.
Le potentiomètre de volume (P5) permet d’ajuster le niveau de sortie, qui varie considérablement selon les autres réglages : plus la distorsion est dure, plus le volume est faible.
Modifications
(par rapport au schéma d’origine)
Le circuit décrit par la suite comporte les adaptations et les améliorations que j’ai retenues pour la fabrication. de cette pédale.
- Adaptations ayant pour but de réduire l’encombrement du circuit et faire tenir l’ensemble dans un boîtier 1590BB. J’ai simplifié pour cela l’alimentation et la commutation :
– Suppression du symétriseur d’alimentation, remplacé par un pont diviseur de tension (2 résistances R- et R+) qui crée un point milieu, pour polariser les amplificateurs opérationnels. Ce niveau +4,5v est stabilisé par C6, condensateur de 10 µF.
– Suppression complète du système de commutation numérique qui nécessitait 2 circuits intégrés. Remplacement par un classique « footswitch » 3PDT. Voir le câblage de ce triple commutateur dans ma page dédiée aux généralités sur les pédales d’effets.
2. Améliorations : Le gain du schéma d’origine est de 1 + R2/R1 = 11. Pour permettre une variation du gain, j’ai remplacé la résistance R1 par un potentiomètre de 10kΩ (P6). Lorsque celui-ci est au minimum (0Ω), le gain est maximum, (théoriquement infini) ce qui est assez inaudible tant la distorsion est forte. En plaçant en série une résistance talon de 1kΩ, on obtient une limitation tout en gardant une large plage de variation du gain. L’amplification varie alors de 10 à 101, donc le gain varie de 10 dB à 20 dB.
On pourrait augmenter la valeur du potentiomètre si on souhaitait un gain encore plus faible, par exemple en prenant 20kΩ on pourrait abaisser le gain à environ 6 dB. Mais c’est à mon avis inutile puisqu’on peut obtenir un écrêtage déjà très doux avec le réglage de seuil au maximum et le taux au minimum.
3. Variation possibles : On peut simplifier le tout en utilisant des potentiomètres doubles pour les réglages de seuil et de taux de saturation. On a alors seulement 4 boutons (volume, gain, taux et seuil) ce qui permet déjà une grande plage de possibilités. Mais on perd évidemment l’aspect asymétrique, donc on reste dans un pédale de fuzz sans aller jusqu’à la distorsion, ce qui fait la spécificité de cette pédale.
Cette option fera peut-être l’objet d’une prochaine réalisation sur ce site ?
Première étape :
Dessiner le plan du circuit imprimé
le plan d’implantation des composants et le typon du circuit, côté cuivre. Peu de composants, pas de soucis pour les placer sur la carte.
Deuxième étape :
Fabriquer le circuit imprimé
(voir mon article sur le processus de fabrication de mes circuits imprimés de manière très artisanale, à faible coût mais très efficace !)
Imprimer le typon sur un transparent, insoler, révéler, graver, percer.
Troisième étape :
Souder les composants, les câbles ; mettre en boîtier
consulter cette page pour voir comment câbler cette pédale en « True By-Pass ».
Les pattes des potentiomètres sont câblées en fils rigides ce qui maintient proprement la plaque de circuit.
Un rectangle de mousse aux dimensions du circuit isole ce dernier des potentiomètres, et une autre plaque collée sur le couvercle isole les transistors métalliques de la masse du boîtier.
le câblage de l’alimentation et de la commutation est fait comme indiqué dans mon article dédié aux pédales d’effets.
le typon de la façade (à gauche) et le dessin de l’aspect final (à droite)
Utilisation
Une grande variété de sons possibles, selon les réglages des seuils et des taux d’écrêtage. Le fait de monter le seuil permet un son qui n’est écrêté qu’à fort volume, comme sur un ampli à lampes qui entre en saturation. Inversement, abaisser le seuil permet d’entrer immédiatement en écrêtage et le son entre alors très vite en distorsion, surtout avec un réglage opposé entre les deux alternances du signal (boutons « + » et « – » ).
La variation de gain est très significative entre le maximum (101 dB !) et le minimum (10 dB).
Le réglage de volume est indispensable pour ajuster le niveau du signal qui varie très fortement selon les réglages, comme indiqué plus haut.
Conclusion
Vous voulez vous lancer dans la fabrication de cette pédale d’effet ? N’hésitez pas à me poser vos questions ou vos remarques en commentaire !


